
Introduction device, also known as incoming line device, is a transitional device for wires or cables of external circuits to enter explosion-proof electrical equipment. The introduction device is often regarded as the weakest link in explosion-proof electrical equipment, and its sealing is very important.
There are three commonly used sealing structures for introduction devices:
1. Sealing ring type introduction device;This introduction device is widely used, including pressure plate type and compression nut type introduction devices(Commonly known as horn mouth);
2. Casting solidification filler sealing introduction device;
3. Metal sealing ring type introduction device.
Cable entry device refers to a device that introduces cables into electrical equipment without changing the explosion-proof type of the equipment.
In industrial environments with hazardous gases or dust, specific requirements are put forward for the explosion-proof and protection levels of the instruments and meters used. Cable entry devices are an important part of instruments and meters, and this device alone meets the explosion-proof and protection level requirements. In the case where other parts of the instruments and meters meet the on-site requirements, instruments equipped with this device can fully meet the explosion-proof requirements.
Firstly, the cable entry device should comply withGB/T3836.1-2021The standard adopts a compression sealing method to achieve sealing and explosion-proof requirements. The material can be selected according to the on-site usage environment, taking into account factors such as magnetic permeability and corrosion resistance. Commonly used materials include high-quality low-carbon steel or acid resistant stainless steel, environmentally friendly copper nickel plating, etc.
In addition to complying with national standards and being easy to interchange, threads should also meet sealing requirements. Zhongnuo Testing recommends using sealed cone pipe threads, with the number of meshing threads greater than8Moreover, there are certain requirements for the fitting accuracy of the threads, such as6H6g.
What needs to be emphasized is the sizeфdxThe tolerance is very important, and it should be based on the outer diameter size of the sealфAIt affects the overall sealing effect. Due to the large deformation of rubber products, the dimensional accuracy will be lower; This requiresфdxTo meet all rubber seals as much as possible, but it does not mean фdxThe stricter the tolerance, the better. It is best to introduce a single-sided gap between the terminal and the seal0.05~0.1mmbetween.
In addition, the wall thickness should also meet explosion-proof requirements; The materials of the upper and lower gaskets should meet the requirements of the usage scenario, and their function is to cushion deformation.
The sealing element is the key to achieving the sealing effect of this device. The material of the sealing element is generally selected as nitrile rubber or silicone rubber, which can also be changed according to different application scenarios.
Tightening the terminal is the final step of the entire cable entry device. The length of the terminal screw in should be able to fully press the upper gasket, seal, and lower gasket, so that the deformation of the seal meets the sealing requirements; In addition, the sealing components need to undergo aging tests. After the entire device is assembled, an air tightness test is required to verify whether it meets the air tightness requirements.
The length of each explosion-proof joint surface meets the explosion-proof requirements and should be coated with anti rust oil; The engagement length of each explosion-proof thread meets the requirementsexplosion-proofrequirement.
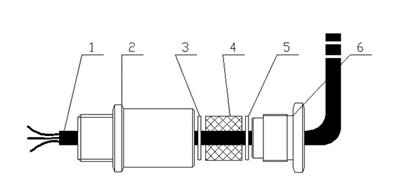
Cable entry device
Among them:1—Coaxial cable2——Introducing terminals3——Upper gasket4—Sealing element5——Lower gasket6——Tighten the terminal
The copyright of this article belongs to Zhongnuo Testing. Plagiarism and theft will be pursued, and reprinting must indicate the original source.

|
||||||
|
||||||